流量计种类以及工作原理 — 全球百科-凯发真人

电话:
新闻资讯
竭诚为用户提供高性价比的仪器仪表以及无微不至的服务!欢迎各界朋友莅临参观、指导和业务洽谈。
测量高粘度流体流量用什么流量计最好
2023-12-15

测量高粘度流体流量用什么流量计

很多公司需要测量粘度较大流体,由于流体的粘性较大,流体的流动速度较慢,找不到合适的流量计,本文将具体介绍测量高粘度流体流量用什么流量计最好。
气体流量计进水
2023-12-14

气体流量计进水了怎么办

当气体流量计进水时,可以采取以下措施进行处理: 1、立即停机并关闭进气阀门,防止进一步损害。2、立即从气体流量计中排出积水。3、将气体流量计清洗干净。4、如果气体流量计进水后仍不能正常使用需要进行修复或更换设备。
电磁流量计前后直管段不足对测量结果的影响
2023-12-13

电磁流量计前后直管段不足对测量结果的影响

电磁流量计前后直管段不足可能会对测量结果产生以下影响:流体扰动、:流速分布畸变、测量误差、测量稳定性下降等,为了确保电磁流量计的准确测量,需要确保其前后直管段的长度满足要求。
气体涡轮流量计维护要点
2023-12-13

气体涡轮流量计有哪些维护要点需要注意

为了确保气体涡轮流量计的正常工作和延长使用寿命,有以下维护要点需要注意:1.清理管道内杂物、2.缓慢开启阀门、3.定期加油、4.禁止随意打开前后盖、5.小心安装垫片、6.定期标定、 7.适宜的工作条件。同时,在使用过程中还需要注意安全操作规程和规范要求,以确保工作顺利进行。
气体流量计
2023-12-13

气体流量计工作过程中如何验证计量的准确度

为了确保气体流量计工作过程中的准确度,可以进行一些验证工作:校准验证、重复性验证、对比验证、温度和压力影响验证、气体成分影响验证、流量范围验证、长期稳定性验证和精度验证等。通过这些验证工作,可以确保气体流量计在各种条件下的准确度较高,从而为气体流量的测量提供可靠的依据。
天然气涡轮流量计操作面板无数据显示
2023-12-12

天然气涡轮流量计操作面板无数据显示原因分析

天然气涡轮流量计操作面板无数据显示可能有以下原因:1、供电故障、2、异常震动、3、轴承轴向间隙增大、4、涡轮流量计进口被堵塞,5、涡轮流量计轴向或径向装配不准确,6、涡轮流量计电器故障。
插入式涡街流量计
2023-12-12

插入式涡街流量计详解

插入式涡街流量计可以测量各种流体介质如液体、气体和蒸汽。工作温度一般在-200°c到 400°c之间(选择合适的型号和配件)。广泛应用于电力、污水厂纺织、印染、节能环保、石油、化工、医药制造、食品饮料、冶金、钢铁等行业,同时可用于水处理、环保等领域对水体流量进行实时监测和控制。
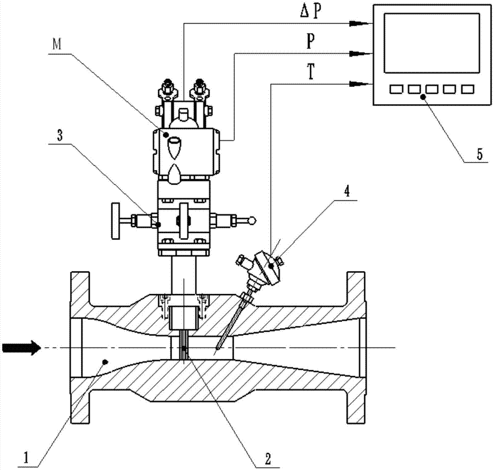
差压式流量计工作原理
2023-12-11

差压式流量计工作原理

差压式流量计是一种通过测量节流件前后压差来测量流量的仪表,本文详细介绍差压式流量计的工作原理、结构原理性能特点、选型注意事项、安装注意事项、调试与校准、维护与保养和应用领域。
 19 20  22 23 24 25 26 27 28 
网站地图